Ad Support : Nano Technology Netbook Technology News Computer Software
Kevin Costner spent $20 million over three years and hired a team of about 15 engineers and scientists to develop centrifuges to separate water from oil at up to 200 gallons per minute. In theory, twenty of the centrifuge devices could have cleaned up the Exxon Valdez spill in 5 days. BP has a contract for 32 of the centrifuges from Ocean Therapy Solutions (Kevin Costner’s company) BP tested the devices for a week and they work.
Just one of the company’s V20 machines can clean up to 210,000 gallons of oily water per day. There are 3 V20 centrifuge machines currently operational in the Gulf. Ten more should become operational within weeks. ”Once production at our factory in Nevada ramps up in July, OTS will be able to produce 10 machines a month,” said Pat Smith, Chief Operating Officer for OTS. ”We are currently ramping up production of new machines with a goal toward deploying the machines along the entire coast,” he said.
The Model V16 Centrifuge has a 5.00″ (12.7 cm) diameter rotor. It has integrated Clean-In-Place and bearings on both the top and bottom of the rotor. It has maximum throughput of up to 90 GPM (gallons per minute)
The centrifuge machines are sophisticated centrifuge devices that can handle a huge volume of water and separate oil at unprecedented rates. Costner has been funding a team of scientists for the last 15 years to develop a technology which could be used for massive oil spills.
The machines are taken out into the spill area via barges, where they can separate the oil and water. The machines come in different sizes, the largest of which, the V20, can clean water at a rate of 200 gallons per minute. Depending on the oil to water ratio, the machine has the ability to extract 2,000 barrels of oil a day from the Gulf. Once separation has occurred, the oil is stored in tanks. The water is then more than 99% clean of crude.
David Meikrantz of Idaho National Labs Oil Centrifuge Patent
The oil content in the purified water from the centrifuge is about 50 parts per million. That’s a little higher than the U.S. Environmental Protection Agency’s preference of 35 parts per million but it would be a big improvement for the Gulf of Mexico. The technology has been around since the 1980s and Costner bought the license, has been developing and promoting it since 1993.
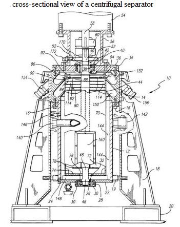
US5762800, Centrifugal Separator (1998) describes the invention
Abstract– A centrifugal separator has a housing with a generally cylindrical inner surface defining an inner chamber. A hollow rotor is disposed within the chamber for rotation therein. At least one inlet is provided for introducing a liquid mixture into the annular volume between the rotor and the housing, where it is then directed into the rotor. An upper rotor assembly separates the liquid mixture by phase densities with the disparate components directed to respective outlets. In one embodiment of the invention, the upper rotor assembly includes an easily removable weir ring to facilitate “tuning” of the separation process. The rotor of the separator is mounted on a unitary rotor shaft that extends axially through the separation chamber to upper and lower bearing assemblies in the separator housing. The bottom surface of the housing, where the liquid mixture is directed from the annular mixing volume into the rotor, preferably includes a plurality of radial vanes that are curved in the direction of rotation of the rotor to assist in directing the liquid mixture with minimal turbulence. Collector rings for the separated components provided from the upper rotor assembly are preferably formed integrally in the wall of the housing with a smoothly contoured peripheral surface to reduce turbulence of the output streams.
If you liked this article, please give it a quick review on Reddit, or StumbleUpon. Thanks
Supporting Advertising
Business Success
How to Make Money
Executive Jobs
Paid Surveys
Thank You

Brian Wang is a Futurist Thought Leader and a popular Science blogger with 1 million readers per month. His blog Nextbigfuture.com is ranked #1 Science News Blog. It covers many disruptive technology and trends including Space, Robotics, Artificial Intelligence, Medicine, Anti-aging Biotechnology, and Nanotechnology.
Known for identifying cutting edge technologies, he is currently a Co-Founder of a startup and fundraiser for high potential early-stage companies. He is the Head of Research for Allocations for deep technology investments and an Angel Investor at Space Angels.
A frequent speaker at corporations, he has been a TEDx speaker, a Singularity University speaker and guest at numerous interviews for radio and podcasts. He is open to public speaking and advising engagements.


