PHD Thesis – The Microwave Thermal Thruster and its Application to The Launch Problem by Kevin Parkin (2006)
The full pdf is here (38.5 Megabytes)
Nuclear thermal thrusters long ago bypassed the 50-year-old specific impulse (Isp) limitation of conventional thrusters, using nuclear powered heat exchangers in place of conventional combustion to heat a hydrogen propellant. These heat exchanger thrusters experimentally achieved an Isp of 825 seconds, but with a thrust-to-weight ratio (T/W) of less than ten they have thus far been too heavy to propel rockets into orbit.
This thesis proposes a new idea to achieve both high Isp and high T/W: The Microwave Thermal Thruster. This thruster covers the underside of a rocket aeroshell with a lightweight microwave absorbent heat exchange layer that may double as a re-entry heat shield. By illuminating the layer with microwaves directed from a ground-based phased array, an Isp of 700–900 seconds and T/W of 50–150 is possible using a hydrogen propellant. The single propellant simplifies vehicle design, and the high Isp increases payload fraction and structural margins. These factors combined could have a profound effect on the economics of building and reusing rockets.
A laboratory-scale microwave thermal heat exchanger is constructed using a single channel in a cylindrical microwave resonant cavity, and new type of coupled electromagnetic-conduction-convection model is developed to simulate it. The resonant cavity approach to small-scale testing reveals several drawbacks, including an unexpected oscillatory behavior. Stable operation of the laboratory-scale thruster is nevertheless successful, and the simulations are consistent with the experimental results.
In addition to proposing a new type of propulsion and demonstrating it, this thesis provides three other principal contributions: The first is a new perspective on the launch problem, placing it in a wider economic context. The second is a new type of ascent trajectory that significantly reduces the diameter, and hence cost, of the ground-based phased array. The third is an eclectic collection of data, techniques, and ideas that constitute a Microwave Thermal Rocket as it is presently conceived, in turn selecting and motivating the particular experimental and computational analyses undertaken.
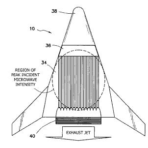
Parkin patent – 6993898 – Microwave heat-exchange thruster and method of operating the same
A propulsion system is disclosed that uses microwaves originating from a ground-based or on-board source to provide energy for propulsion. The energy produces thrust by coupling into a propellant via a microwave absorbent heat exchanger, and by subsequent conversion of the propellant thermal.
If you liked this article, please give it a quick review on ycombinator, or Reddit, or StumbleUpon. Thanks
Featured articles
Ocean Floor Gold and Copper
Ocean Floor Mining Company

Brian Wang is a Futurist Thought Leader and a popular Science blogger with 1 million readers per month. His blog Nextbigfuture.com is ranked #1 Science News Blog. It covers many disruptive technology and trends including Space, Robotics, Artificial Intelligence, Medicine, Anti-aging Biotechnology, and Nanotechnology.
Known for identifying cutting edge technologies, he is currently a Co-Founder of a startup and fundraiser for high potential early-stage companies. He is the Head of Research for Allocations for deep technology investments and an Angel Investor at Space Angels.
A frequent speaker at corporations, he has been a TEDx speaker, a Singularity University speaker and guest at numerous interviews for radio and podcasts. He is open to public speaking and advising engagements.
