Canadian space company, Thoth Technology Inc., has been granted the United States patent for a inflated tower. The freestanding space tower is pneumatically pressurized and actively-guided over its base. Reaching 20 km above the planet, it would stand more than 20 times the height of current tall structures and be used for wind-energy generation, communications and tourism.
The technology offers an exciting new way to access space using completely reusable hardware and saving more than 30% of the fuel of a conventional rocket.
The press release calls it a space elevator but it is not.
Nextbigfuture covered inflated tower work at the University of Toronto in 2009. This is follow up to that work. Brendan Quine did the work in Toronto and is named on the patent.
There does not seem to have been any information on their website of any experimental work towards realizing the inflatable tower. They do also have plans for Mars missions, moon missions and have some actual electronic equipment products.
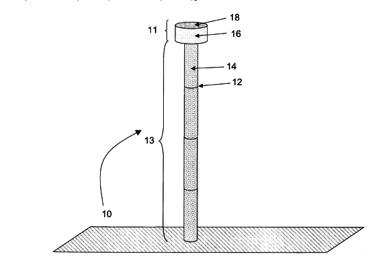
Inflatable pneumatic modules already used in some spacecraft could be assembled into a 15-kilometre-high tower. Brendan Quine, Raj Seth and George Zhu at York University in Toronto, Canada, wrote in Acta Astronautica (DOI: 10.1016/j.actaastro.2009.02.018) “A free-standing space elevator structure: A practical alternative to the space tether”. If built from a suitable mountain top it could reach an altitude of around 20 kilometres, where it could be used for atmospheric research, tourism, telecoms or launching spacecraft. They calculate the tower could be extended up to low Earth orbit at 200 kilometres.
The team envisages assembling the structure from a series of modules constructed from Kevlar-polyethylene composite tubes made rigid by inflating them with a lightweight gas such as helium. To test the idea, they built a 7-metre scale model made up of six modules. Each module was built out of three laminated polyethylene tubes 8 centimeters in diameter, mounted around circular spacers and inflated with air.
To stay upright and withstand winds, full-scale structures would require gyroscopes and active stabilisation systems in each module. The team modelled a 15-kilometre tower made up of 100 modules, each one 150 metres tall and 230 metres in diameter, built from inflatable tubes 2 metres across. Quine estimates it would weigh about 800,000 tonnes when pressurised – around twice the weight of the world’s largest supertanker.
Space tethers have been investigated widely as a means to provide easy access to space. However, the design and construction of such a device presents significant unsolved technological challenges. We propose an alternative approach to the construction of a space elevator that utilizes a free-standing core structure to provide access to near space regions and to reduce the cost of space launch. The structure is comprised of pneumatically inflated sections that are actively controlled and stabilized to balance external disturbances and support the structure. Such an approach avoids problems associated with a space tether including material strength constraints, the need for in-space construction, the fabrication of a cable at least 50,000 km in length, and the ageing and meteorite-damage effects associated with a thin tether or cable in Low Earth Orbit. An example structure constructed at 5 km altitude and extending to 20 km above sea level is described. The stability and control of the structure, methods for construction and its utility for space launch and other applications are discussed.
FURTHER READING
The calculated extension to 200 kilometers means that this would enable the space pier. The higher towers would be the legs of the space pier. The space tier already had sketched out inflation as the means of making the legs and this work confirms the space pier proposal.

Space Pier proposed by J Storrs Hall
Build a structure 100 kilometers tall and 300 kilometers long. Put a linear induction (or other electromagnetic) motor along the top. An elevator goes straight up 100 kilometers to the starting end. Payloads are then accelerated horizontally into orbit with an acceleration of only 10 G’s (which appropriately cushioned humans can stand for the 80 seconds required). This hybrid approach overcomes the drawbacks of both the typical orbital tower schemes (it’s less than 1% the height of a skyhook) and electrolaunch ones (air resistance at 100 km is a million times less than at sea level).
It might be possible to design the accelerator to allow a mass/ acceleration tradeoff, i.e. to launch 10 tonnes at 10 G’s or 1 tonne at 30 G’s. Freight that can withstand 20 G’s can be launched at escape velocity, and sent more or less directly to the moon. 30 G’s puts it into a (Hohmann) transfer orbit to Venus or Mars.
Once the tower is in place, it would be practical to launch other accelerators (in pieces) to orbit. An orbital accelerator would have the advantage of low rendezvous velocities, and the disadvantage of needing to fire something backwards periodically to maintain its orbit. It could be much longer than the tower and thus could form a second stage capable of launching humans on transplanetary trajectories at survivable accelerations.Molecular manufacturing, even of a fairly unsophisticated form, could make it economical. Suppose means were found to manufacture diamond and graphite fiber of 5 GPa compressive and tensile strength respectively, in quantity, at $10/kg. If the structure needed half a million tonnes of material it comes to $5 billion. Then the whole business might cost $10 billion. (For comparison, the space station is costing $20 billion and Apollo cost $24 billion in 1960’s dollars.) This gives us a total cost of about $10/kg to orbit. This is nearly cheap enough to make ground-launched powersats feasible, but vacations in orbit still cost $25,000.
With a mature nanotechnology, the cost of diamond comes down and the strength goes up. Likewise the high-tech stuff in the track, and power generation, and so forth. (An example: recent progress in micron-scale vacuum tubes suggests that nanoengineering could make high-powered switching apparatus that was more efficient and cheaper than silicon.) Cost reduction on the order of 100 seems quite feasible. At 10 cents/kg to orbit, the Solar System is our oyster.
The world capacity of kevlar production is about 55,000 tons per year and growing by 5-10% per year. The tower or space pier would probably need the highest quality kevlar.
Item 6 in this nanotechnology summary Kevlar has been reinforced with carbon nanotubes.
Kevlar-CNT composites show increases in all mechanical parameters of the nanocomposite material compared to the original Kevlar fibers, e.g.: Young’s modulus, from 115 to 207 GPa; strength, from 4.7 to 5.9 GPa; strain at break, from 4.0 to 5.4%; toughness, from 63 to 99 J/g. These improvements have been achieved at only 1 – 1.75 wt% of carbon nanotube content.
There is about 100 tons/year of carbon nanotubes being produced. Bayer Materials is making a 200 ton/year plant now and could scale to thousands of tons per year around 2012.
The atmosphere gets less dense the higher you go. So space piers in between 20-100 kilometers in height could still work and would be less demanding on the amount of material and the quality. (therefore costs would be lower and the amount of material needed would require less scaling up of production.)

Brian Wang is a Futurist Thought Leader and a popular Science blogger with 1 million readers per month. His blog Nextbigfuture.com is ranked #1 Science News Blog. It covers many disruptive technology and trends including Space, Robotics, Artificial Intelligence, Medicine, Anti-aging Biotechnology, and Nanotechnology.
Known for identifying cutting edge technologies, he is currently a Co-Founder of a startup and fundraiser for high potential early-stage companies. He is the Head of Research for Allocations for deep technology investments and an Angel Investor at Space Angels.
A frequent speaker at corporations, he has been a TEDx speaker, a Singularity University speaker and guest at numerous interviews for radio and podcasts. He is open to public speaking and advising engagements.




